Intro Embedded module 2
Lekker aan de koffie. Dat heb ik nodig nadat ik gisteravond Totaal Los ben gegaan. Tijdens de koffie nemen we de tijd om verschillende onderwerpen te bespreken gerelateerd aan Embedded Systems.
Al snel gaan we naar de basis techniek van de computer. Hiervoor gaan we in op de Boleaanse algrebra: [WIKI]
Snel worden alle mogelijk operaties duidelijk. Er zijn 3 basis operaties: OR AND en NOT.
Het vereenvoudigen van de boleaanse algrebra hefet een paar rekenregel, bv:
a * b + a * b' = a (b en b' vallen tegen elkaar weg, zodat alleen a overblijft.)
Een voorbeeld van een formule die we willen gaan vereenvoudigen door middel van [Karnaugh]. Dat is lang geleden. Op school is dat inderdaad een onderwerp geweest.
Leuk op weer terug te zien. Boven de 4 variabelen kan het niet meer 2D en is er een extra dementie nodig. Operator tussen 2 tabellen.
Jan geeft een toegepast voorbeeld. Wanneer er in een stukje software veel IF - ELSE constructies worden gebruikt ik het mogelijk om door middel van Karnaugh de code een stuk eenvoudiger te maken.
Online gebruik maken van een logical editor is een feest. Allemaal gaan we achter laptop.
Aan de hand van de waarheidstabel kan je de formule opbouw en daarna eventueel met Karnaugh vereenvoudigen. Dan volgt het bewijs dat je alle logische functies kan opbouwen met OR, AND en NOT. Dit brengen we in de praktijk door middel van het opbouwen van XOR. ( a * b' + a' * b)
Een leuke oefening. Geweldige herkenning met het verleden in de schoolbanken:

Deze vereenvoudigde formule uitgewerkt in Online Tool en aan de hand van de waarheidstabel gecontroleerd:

Een andere rekenregel is:
a + b = a * b en a * b = a + b
Logisch!!
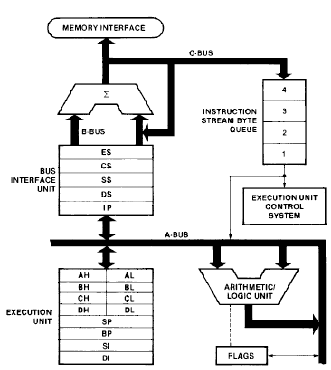
Na de lunch gaan we naar de basis van een computer. De 8088 is een goed functioneel schema om samen te bespreken. De ALU, FLAGs, register, instructies, interrupts... etc.
